創新眼用冰敷罩
一、創作動機
視網膜剝離術後病人須依醫囑採俯臥姿勢至少一週,目的為利用眼內空氣浮升的力量抵住造成視網膜剝離的裂孔,促使網膜平貼黏合,若未能正確落實俯臥,不僅影響治療效果,也可能產生白內障的術後合併症(楊,2010;Hwang, Chen, & Lin, 2011)。 本單位於2012年11月成立眼科專屬病房,眼科手術後照護為專科重要護理措施,護理長及筆者追蹤眼科專屬病房成立後病人的照護品質,發現視網膜剝離術後病人需一直維持俯臥又要冰敷患眼,會導致俯臥姿勢不正確,甚至暫停俯臥,檢視單位教導的冰敷方式,是以小夾鏈袋裝冰塊外包紗布,讓病人以手直接支托進行冰敷,而人員實地冰敷同時維持俯臥,除須不斷以換手來避免手痠及手太冰涼外,也易導致俯臥姿勢不正確,甚至暫停俯臥;若因而因此未達手術成效甚至須再次動刀會造成醫療費用增加。醫療團隊應適當採取預防及改善措施,針對病人提供服務協助。因此引發筆者製作創新眼用冰敷罩之動機,期能改善病人因冰敷造成俯臥不正確及反覆撕除紙膠而造成皮膚撕裂傷。
二、文獻查證與學理依據
| (一) | 眼科術後照護 |
|
正確俯臥是視網膜剝離術後護理重要的一環,文獻研究顯示,手術失敗原因之ㄧ為俯臥姿勢無法持續維持(Hwang et al., 2011),因此合宜的措施讓病人維持正確俯臥是相當重要的。而術後採間歇冰敷眼睛四周,除可預防炎症腫脹,更可減輕疼痛(侯、黃、許,2012),另外搭配眼科眼罩的使用,也可避免異物入侵,防止病人下意識搓揉患眼造成感染或損傷(徐、關,2008)。 |
|
| (二) | 皮膚撕裂傷相關因素 |
| 住院病人皮膚撕裂傷盛行率11.05%,發生部位以臉與頭頸部為首,發生原因以移除醫材敷料所致為主,佔73.91%,而65.95%損傷程度屬第三類型組織完全缺損(許、章,2010)。醫院慣用的3M通氣膠帶材質為縲瑩纖維不織布材質,主要用於敷料固定,黏貼前皮膚需清潔乾淨並保持乾燥,若有油脂或汗水殘留會影響黏貼效果,而過於拉緊膠帶及皮膚,則會導致黏貼處紅腫,甚至破皮,撕除時若未依毛髮生長方向撕除,則會引起疼痛。若能使用避免與皮膚直接接觸的固定方式,則可避免破皮或紅腫發生,亦可避免引起膠帶過敏 (王、趙、黃 、廖、胡、陳,2007)。 |
三、設計流程
| (一) | 原案流程:以3M通氣紙膠黏貼鐵眼罩(圖一),再使用小夾鏈袋裝冰塊外包紗布,讓病人以手直接支托進行冰敷,外包紗布,讓病人以手直接支托進行冰敷。 |
| (二) | 新案流程:創新眼用冰敷罩設計:由小組成員以小組討論方式,提出各種創新眼罩固定方式,並實際操作演練,找出最佳方法設計創新冰敷袋固定方式,利用細彈力繩加金屬扣環製作眼用冰敷罩,使其能同時固定冰敷袋。試用為期1週運於3位病人發現,細彈力繩過細易於皮膚上形成勒痕且金屬扣環成本過高,修改以粗彈力繩以活結方式製作可調式固定帶綁於鐵眼罩上,除可依病人頭圍調整長度避免過緊情形,更具有能同時固定冰敷袋功能外,在冰敷以外的期間,護理人員施點藥時只需翻動眼罩即可完成點藥動作,減少撕除膠帶造成不適,更可避免膠帶黏貼過緊導致局部壓迫患眼(圖二)。 |
![]() |
| 圖一、運用3M通氣紙膠黏貼鐵眼罩 |
![]() |
| 圖二、創新眼用冰敷罩 |
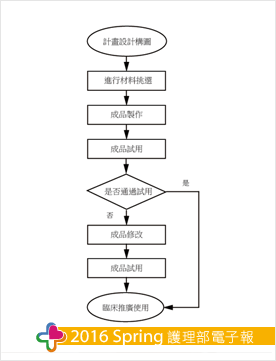
| 設計流程圖:小組成員依據P.D.C.A概念,設計此創新案。 |
![]() |
六、專業適用性及推廣性
本案截至目前共試用15位視網膜剝離術後的病人,針對此15位病人進行滿意度訪談,15人 (100%)皆感到滿意。
| (一) | 對病人之影響: | ||||
|
|||||
| (二) | 對護理同仁之影響: | ||||
|
|||||
| (三) | 推廣性及實用性: | ||||
| 原案容易導致病人俯臥姿勢不正確,也可能因反覆撕除紙膠而造成皮膚撕裂傷或紙膠過敏,低敏感性紙膠成本比創新眼用冰敷罩高,可冰敷又可同時達到保護患眼及正確俯臥的功效,病人使用反應良好。 |
七、參考文獻
王惠美、趙慧玲、黃薇瑄、廖婉君、胡曉珍、陳德芳(2014).一般外科病患術後傷口換藥疼
痛改善專案.領導護理.15(3),96-107。
侯佩儀、黃惠滿、許秋月(2012).手術病人的照護需求與整體滿意度之相關性研究.高雄護
理雜誌,29(2),8-24。
徐國興、關宇翔(2008).眼科學基礎.新文京出版。 許美玉、章淑娟(2010).住院病人皮膚
撕裂傷盛行率與相關危險因素之探討.志為護理雜誌.9(4),84-95。
楊長豪(2010).視網膜剝離之手術治療.臺灣醫學,3(5),575-583。
Hwang, J. F., Chen, S. N., & Lin, C. J. (2011). Treatment of inferior rhegmatogenous
Retinal detachment by pneumatic retinopexy technique. Retina, 31, 257-261.


